iOS 免越狱 公益网站 每日更新

iOS 免越狱 公益网站 每日更新

苹果游戏

查看全部 →
梦幻药剂2 Potion Punch 2+

梦幻药剂2 Potion Punch 2+

Arcade游戏砸壳修改器注入

v1.00.48 448MB | 中文
水果忍者 Fruit Ninja Classic+

水果忍者 Fruit Ninja Classic+

Arcade游戏砸壳修改器注入

v1.52.2 239MB | 中文
XP3Player 模拟器

XP3Player 模拟器

AppStore售价58.00附ROM

v1.3.11 17MB | 中文
模拟山羊+ Goat Simulator+

模拟山羊+ Goat Simulator+

Arcade游戏砸壳修改器注入

v1.14 1.5GB | 中文
决胜巅峰

决胜巅峰

解锁地图透视仅供学习交流

v1.5.58 1.58GB | 中文
福蒂亚斯传奇

福蒂亚斯传奇

解锁无限抽卡无限资源等

v1.1.08 390MB | 中文
动物王者

动物王者

地图透视草丛水中可攻击

v6.8.0 191MB | 中文
狂野飙车8+ 极速凌云 Arcade

狂野飙车8+ 极速凌云 Arcade

Arcade游戏砸壳修改器注入

v2.8.0 2.31GB | 中文
冷酷灵魂:生存 Grim Soul

冷酷灵魂:生存 Grim Soul

解锁无敌秒杀无限拆分免费制作等

v8.0.5 307MB | 中文

苹果应用

查看全部 →
Shadowrocket

Shadowrocket

网络代理工具巨魔版本

v2.2.80 22MB | 中文
YouMi 音乐

YouMi 音乐

TF免费音乐软件

v1.0 4MB | 中文
Koala Sampler

Koala Sampler

AppStore付费软件砸壳

v1.4152 42MB | 英文
TuneIn Radio:音乐、实时新闻

TuneIn Radio:音乐、实时新闻

AppStore付费软件砸壳

v41.0.1 82MB | 英文
小柠檬影视

小柠檬影视

去广告支持投屏下载

v1.1.2 42MB | 中文
Focos Live

Focos Live

专业摄像剪辑工具解锁VIP权限

v1.6.3 126MB | 中文
WorldTalk 与外国人语音/视频聊天

WorldTalk 与外国人语音/视频聊天

解锁VIP无限翻译等功能

v6.4.2 80MB | 中文
青柠设计

青柠设计

解锁终身会员权限所有素材版

v2.2.2 111MB | 中文
OldRoll – 复古胶片相机

OldRoll – 复古胶片相机

解锁订阅内购会员权限

v8.4.3 175MB | 中文

安卓应用

查看全部 →
牛牛视频

牛牛视频

去广告去除敏感权限

v1.5.5 25MB | 中文
Talkio AI客户端

Talkio AI客户端

支持把AI拉近群聊互相讨论

v2.4.1 87MB | 中文
UZ影视 多平台

UZ影视 多平台

多平台多源免费影视

v1.6.71 25MB | 中文
MobiPDF 扫描编辑

MobiPDF 扫描编辑

解锁专业版功能版本

v11.12.270246 272MB | 中文
X twitter 安卓版

X twitter 安卓版

安卓twitter鸿蒙官方客户端

v10.54.2 158MB | 中文
Simple 聚合直播+TV版

Simple 聚合直播+TV版

斗鱼/虎牙/哔哩聚合及TV端

v1.8.1219 30MB | 中文
哔哩哔哩 概念版

哔哩哔哩 概念版

解锁内置会员模块版本

v8.83.0 188MB | 中文
酷我音乐 SVIP版

酷我音乐 SVIP版

解锁SVIP7全部会员功能

v12.0.6.0 204MB | 中文
BitTorrent 种子下载器

BitTorrent 种子下载器

种子下载专业功能解锁汉化

v8.3.5 57MB | 中文

电脑应用

查看全部 →
AI短剧生成工具

AI短剧生成工具

AI 影视生产级工具

v0.2.2 96MB | 中文
Talkio AI客户端

Talkio AI客户端

支持把AI拉近群聊互相讨论

v2.4.1 8MB | 中文
EchoMusic 酷狗音乐

EchoMusic 酷狗音乐

免费开源酷狗第三方客户端

v1.1.1 46MB | 中文
Simple 聚合直播

Simple 聚合直播

抖音/斗鱼/虎牙/哔哩哔哩聚合

v1.8.1219 19MB | 中文
PiliPlus 哔哩哔哩

PiliPlus 哔哩哔哩

哔哩哔哩B站第三方纯净客户端

v1.1.6 32MB | 中文
Animeko 追番 电脑

Animeko 追番 电脑

免费开源追番神器

v5.2.0 318MB | 中文
Fraps 游戏与屏幕录制工具

Fraps 游戏与屏幕录制工具

游戏与屏幕录制工具

v3.5.99 2MB | 英文
春节自动抢票 Bypass

春节自动抢票 Bypass

春节自动抢票付款神器

v1.16.61 4MB | 中文
潜水员戴夫 DAVE THE DIVER

潜水员戴夫 DAVE THE DIVER

中文修改器版支持键盘鼠标手柄

v1.0.5 2.9GB | 中文

教程资讯

查看全部 →
阿里巴巴成立 ATH 事业群:吴泳铭亲征,全面锚定 Token 经济
热门

阿里巴巴成立 ATH 事业群:吴泳铭亲征,全面锚定 Token 经济

​2026 年 3 月 16 日,阿里巴巴宣布组建全新的 Alibaba Token Hub(ATH)事业群, […]

38分钟前 38,821
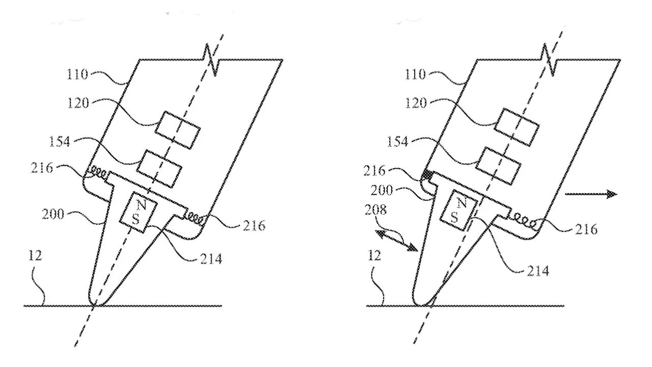
苹果获新专利:Apple Pencil 或可改变物理形态以模拟多种工具手感
热门

苹果获新专利:Apple Pencil 或可改变物理形态以模拟多种工具手感

苹果公司获批一项名为“具有可调节特性的手写笔”新专利,旨在让 Apple Pencil 能够根据使用场景改变物 […]

43分钟前 12,333
闲鱼管理系统,自动发货,多账户管理,智能AI回复等
热门

闲鱼管理系统,自动发货,多账户管理,智能AI回复等

一个功能完整的闲鱼管理系统,采用现代化的技术架构,支持多用户、多账号管理,具备智能回复、自动发货、自动确认发货 […]

2小时前 14,407
小红书发布治理公告:即日起封禁“全量 AI 托管代发”账号
热门

小红书发布治理公告:即日起封禁“全量 AI 托管代发”账号

小红书发布关于打击 AI 托管运营账号的治理公告。平台称,近期发现部分用户采用 AI 托管模式运营账号,自动生 […]

6天前 16,762